Золотисто-коричневый пуловер с цельновязаным рукавом и волнистым ажуром.
Европейские размеры: Ѕ-М/L.
Российские размеры: 42-44/46. +6 российские размеры
Вам потребуется:
300/350 г золотисто-коричневой пряжи: 88% шёлк, 12% полиамид; 165 м/50 г.
Круговые спицы 4,5 мм длиной 40 и 80 см.
УЗОРЫ
Кромочные петли:
Первую петлю каждого ряда снимать лиц; последнюю петлю каждого ряда вязать лиц.
Платочная вязка:
Лиц. п. в лиц. и изн рядах; по кругу вязать 1 ряд изн. п., 1 ряд лиц. п.
Лицевая гладь:
Лиц. р. — лиц. п., изн. р. — изн. п.
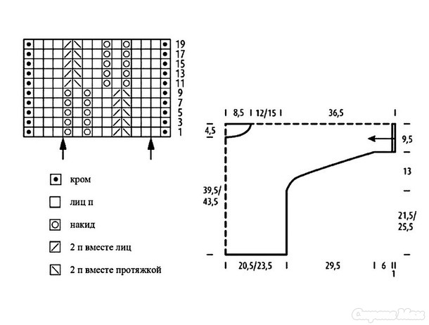
Ажурный узор:
Вязать по схеме. На схеме даны лиц. ряды.
В изн. рядах петли вязать изн.
В ширину начать с петель перед первой стрелкой, постоянно повторять раппорт из 9-ти п, закончить петлями после 2-й стрелки.
В высоту вязать 1 раз с 1-го по 20-й ряд, потом постоянно повторять 20 рядов.
Плотность вязания:
21 п. и 34 р. = 10 х 10 см — ажурный узор; спицы 4,5 мм.
Внимание!
Пуловер вяжется одной частью. Начать с левого рукава.
ОПИСАНИЕ
Набрать 42 п. Вязать манжет платочной вязкой 1 см - 5 рядов, начать с изн. ряда.
Дальше вязать ажурным узором.
Для формирования рукава прибавить с каждой стороны по 1 п в 21-м ряду от манжета, потом в каждом 6-м ряду 12 раз и в каждом 4-м ряду 5 раз 78 п.
Прибавленные петли вязать лиц гладью.
Когда достигнете нужное количество петель, вязать их ажурным узором.
Потом набрать в каждом 2-м ряду 3 раза по 3 п. = 96 п.
На высоте 29,5 см = 100 рядов от первого прибавления набрать для спинки 45/54 п. и для переда 45/54 п. = 186/204 п. Дальше вязать прямо.
На высоте 12/15 см = 40/50 рядов переда/спинки разделить работу
посередине на перед и спинку и каждую часть вязать отдельно.
Сначала провязать на 93/102 п. спинки, прибавить 1 кром. петлю на крае разделения 94/103 п.
На высоте 17 см = 60 рядов от разделения работы петли спинки отложить и вязать на петлях переда, при этом на крае разделения прибавить 1 кром петлю как для спинки.
Закрыть со стороны выреза горловины 1 раз 3 п., потом в каждом 2-м ряду 2 раза 2 п. и 2 раза 1 п. = 85/94 п.
На высоте 14,5 см = 50 рядов выреза горловины переда прибавить или набрать петли симметрично закрытым петлям выреза горловины.
После последнего прибавления продолжить вязание на всех петля переда и спинки, при этом в 1-м ряду убрать кромочные петли.
Вторую часть вязать симметрично первой части.
После последнего ряда рукава все петли закрыть.
Внимание!
Ажурный узор формирует край зигзаг на нижнем крае переда и спинки.
Сборка:
Провести блокировку. Закрыть швы рукава и боковые швы.
На короткие круговые спицы набрать по вырезу горловины 90 п.
Вязать окантовку выреза горловины платочной вязкой по кругу.
На высоте окантовки выреза горловины 1 см = 4 ряда все петли закрыть.
https://www.liveinternet.ru/users/4438506/post514454350/






Комментарии
Вставка изображения
Можете загрузить в текст картинку со своего компьютера: