Джемпер Galatea. Спицы.



Джемпер вяжется в две нити пряжей DROPS Kid-Silk и BabyAlpaca Silk сверху вниз регланом и ажурным узором. Размеры S - XXXL.
-------------------------------------------------------
Размеры:
S - M - L - XL - XXL - XXXL
Понадобится:
Пряжа DROPS BABY ALPACA SILK 250-300-300-350-350-400 г, цвет 1101, белый
а также:
Пряжа DROPS KID-SILK 100-125-125-150-150-175 г. цвет 01, натуральный
Плотность вязания: 17 петель и 22 ряда по схеме в 2 нити = 10х10 см.
Спицы:
Чулочные спицы DROPS размер 5 мм.
Круговые спицы DROPS размер 5 мм, длина лески 40 и 60 или 80 см для лицевой глади.
Чулочные спицы DROPS размер 4 мм.
Круговые спицы DROPS размер 4 мм, длина лески 40 и 80 см для резинки.
Размер спиц указан в качестве рекомендации. Если в связанном образце на 10 см слишком много петель, возьмите спицы большего размера. Если в образце на 10 см слишком мало петель, возьмите спицы меньшего размера.
-------------------------------------------------------
ПОЯСНЕНИЯ К ВЯЗАНИЮ:
-------------------------------------------------------
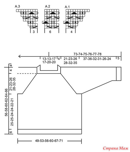
УЗОР: См. схемы А.1 – А.3.
УБАВКИ НА РУКАВАХ:
Убавлять 1 петлю с каждой стороны от петли с маркером, как описано далее: Вязать, пока не останется 3 петли до петли с маркером, 2 вместе лицевой с наклоном вправо, 3 лиц (маркер останется по середине этих петель), 2 вместе лицевой с наклоном влево (= 2 петли убавлено).
РАВНОМЕРНЫЕ УБАВКИ:
Для расчета ритма выполнения равномерных убавок общее число петель на спицах (напр, 50 пет) разделить на количество убавок, которое нужно выполнить (напр, 8) = 6.25. В данном примере нужно вязать вместе примерно каждые 5ю и 6ю петли вместе.
СОВЕТ ПО ЗАКРЫТИЮ ПЕТЕЛЬ:
Чтобы закрытый край не был стянут, для закрытия петель можно использовать больший размер спиц. Если и в этом случае край тянет, во время закрытия можно делать 1 накид примерно после каждой 4й петли и закрывать его как обычную петлю.
-------------------------------------------------------
ОПИСАНИЕ ВЯЗАНИЯ:
-------------------------------------------------------
ДЖЕМПЕР, короткое описание работы:
Горловину и кокетку вязать по кругу на круговых спицах, сверху вниз. Ряд начинается между левым рукавом и спинкой. Далее кокетку разделить на тело и рукава и тело вязать по кругу на круговых спицах. Рукава вязать по кругу на коротких круговых / чулочных спицах, сверху вниз. Изделие вяжется в две нити (1 нить Baby Alpaca Silk и 1 нить Kid-Silk).
ГОРЛОВИНА:
Набрать 72-72-84-84-96-96 петель на круговые спицы 4 мм в две нити (1 нить Baby Alpaca Silk и 1 нить Kid-Silk). Провязать 1 ряд лицевыми петлями. Далее вязать резинку (1 лиц, 1 изн) по кругу на высоту 4 см. Отметить маркером начало ряда. Измерения кокетки производить от этого маркера. Сменить спицы на круговые 5 мм.
Помнить о плотности вязания!
КОКЕТКА:
Продолжить вязание, как описано далее: 1 петля лицевой гладью, схема А.1 (=4 петли), А.2 на следующих 12-12-18-18-24-24 петлях (=2-2-3-3-4-4 повтора из 6 петель), А.3 (=3 петли), 2 петли лицевой гладью, А.1, А.2, А.3, 2 петли лицевой гладью, А.1, А.2 на следующих 12-12-18-18-24-24 петлях (=2-2-3-3-4-4 повтора из 6 петель), А.3, 2 петли лицевой гладью, А.1, А.2, А.3, 1 петля лицевой гладью.
Продолжить вязание таким образом, все прибавки указаны на схемах А.1 и А.3. Прибавляется 8 либо 16 петель в каждом 2м ряду. Каждый раз, когда А.1 и А.3 полностью провязаны в высоту, остается еще 2 повтора А.2 в высоту.
Прибавки в каждом 2м ряду выполнять в общем 18-20-20-22-24-26 раз = 288-312-324-348-384-408 петель. Высота детали будет ок. 16-18-19-20-21-24 см.
Продолжить вязание по схемам без дальнейших прибавок; петли, которые не попадают в схему, вязать лицевой гладью. Продолжить работу, пока высота детали не составит 21-23-26-28-32-35 см от маркера на горловине.
В следующем ряду разделить кокетку на тело и рукава, как описано далее (продолжать вязание по узору): Провязать 75-81-87-93-105-111 петель (=спинка), следующие 69-75-75-81-87-93 петель снять на держатель (=рукав), набрать 9 новых петель для подреза, провязать 75-81-87-93-105-111 петель, как и ранее (=перед), следующие 69-75-75-81-87-93 петель снять на держатель (=рукав), набрать 9 новых петель для подреза. Тело и рукава закончить по отдельности. Обрезать нить.
ТЕЛО:
На спицах = 168-180-192-204-228-240 петель. Продолжить вязание по схеме А.2 на всех петлях, убедившись, что узор совпадает с узором кокетки.
Продолжить вязание, пока высота детали не составит 25-25-24-24-22-21 см от разделения (остается ок.6 см до итоговой длины, Вы можете примерить джемпер и при необходимости вязать до желаемой длины).
Сменить спицы на круговые 4 мм и вязать резинку (1 лиц, 1 изн) на высоту 6 см.
Закрыть петли по рисунку (лицевые – лицевыми, изнаночные – изнаночными), при необходимости см Совет по закрытию петель.
Длина джемпера от плеча составит ок. 56-58-60-62-64-66 см.
РУКАВА:
Переснять 69-75-75-81-87-93 петель с держателя на чулочные / короткие круговые спицы 5 мм и поднять по 1 петле из каждой из ранее набранных 9 петель подреза = 78-84-84-90-96-102 петель. Отметить маркером петлю по середине этих 9 петель, перемещать маркер по мере вязания, он отмечает место выполнения дальнейших убавок на рукаве.
Продолжить вязание по схеме А.2 по кругу, убедившись, что узор совпадает с узором на кокетке. Когда будет провязано 3 см рукава для всех размеров, убавить 2 петли по середине рукава – см Пояснения к вязанию.
Делать убавки через каждые 2½-2-1½-1½-1-1 см в общем 14-16-16-17-19-20 раз = 50-52-52-56-58-62; петли, которые после выполнения убавок не попадают в узор вязать лицевой гладью. Продолжить вязание, пока длина рукава не составит 37-36-32-31-26-24 см от разделения (остается ок.5 см до итоговой длины рукава, Вы можете примерить джемпер и при необходимости вязать до желаемой длины). Примечание: у больших размеров длина рукава меньше за счет более широкой горловины и длинной кокетки.
Провязать 1 ряд лицевыми петлями, равномерно убавив 10 петель для всех размеров – см Пояснения к вязанию = 40-42-42-46-48-52 петель. Сменить спицы на чулочные 4 мм и вязать резинку (1 лиц, 1 изн) на высоту 5 см. Закрыть петли по рисунку.
Длина рукава составит ок. 42-41-37-36-31-29 см от разделения.
Второй рукав связать аналогично.
- Поделиться

- Поделиться

https://5motkov.ru/blog/view/2736/
Кардиган https://www.stranamam.ru/post/14751419/
Комментарии
Вставка изображения
Можете загрузить в текст картинку со своего компьютера: