Мини юбка спицами Mint Tulip by DROPS Design
Размеры
S - M - L - XL - XXL - XXXL
Материалы
Пряжа DROPS SKY (74% альпака, 18% полиамид, 8% шерсть, 50 г/190 м) 3-3-4-4-4-5 мотков цвета 07, спицы круговые 3.5 мм и 4 мм, 70-120 см резинки для пояса
Плотность вязания
21 петля и 28 рядов = 10х10 см чулочной вязкой на спицах 4 мм
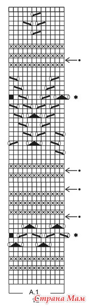
Примечание: юбка вяжется по кругу сверху вниз, сначала вяжется поясок, потом основная часть юбки.
На спицы 3.5 мм набрать 144-156-168-180-204-228 п., провязать 2 круга платочным узором, потом 4 круга чулочной вязкой. Далее выполнить 1 круг изн. п. - линия подворота пояса, измерять длину юбки этого круга.
Провязать 4 круга платочным узором, перейти на спицы 4 мм. Продолжить по схеме А.1 на всех петлях по кругу, при этом в 11 и 41 кругах переместить начало круга на 1 петлю. В кругах отмеченных стрелками вязать равномерные прибавления:
1 круг: равномерно прибавить 12-24-24-24-24-24 п., все петли вязать по схеме А.1.
2 круг: равномерно прибавить 12-24-24-24-24-24 п.
3 круг: равномерно прибавить 12-12-24-24-24-24 п.
4 круг: равномерно прибавить 12-12-12-12-12-24 п. = 192-216-240-264-288-324 п. = 16-18-20-22-24-27 повторений по схеме А.1 в ширину.
Повторить 1 верт. раппорт по схеме А.1 еще 2-1-2-1-1-1 р., в каждом кругу прибавлений равномерно добавить по 12 п. = 216-228-264-276-300-336 п. Продолжить вязание узором на высоту 39-41-43-45-47-49 см. Далее выполнить 4 круга платочным узором, закрыть все петли как лиц.
Сборка
Подвернуть пояс на изн. сторону, пришить его, вставив при этом резинку.
- Поделиться






Комментарии
Вставка изображения
Можете загрузить в текст картинку со своего компьютера: