Пончо с узором из кос и поясом

Красивое пончо с узором из кос простым кроем и прекрасными внешними данными. Использование натуральной пряжи делает эту модель особенно удобной и приятной в носке.
Размер: 34/38, 40/44 и 46/50 Отличающиеся данные для размеров 40/44,46/50 даны последовательно о скобках через тире. Если стоит только одно число, тo оно относится ко всем трем размерам
Вам потребуется : пряжа Geofra *Саsh- merino* (55% мериносовой шерсти. 35% полиакрила. 10% кашемира. 100 м/50 г): 850 (900 – 1000) г светло- коричневой цв.- 04811: круговые спицы № 5 с длиной 60. 80 или 100 см
Узоры и вязки:
Резинка А: попеременно 1 лицевая, 1 изнаночная
Резинка Б: попеременно 2 лицевые. 2 изнаночные
Платочная вязка: Лицевые и изнаночные ряды вязать лицевыми.
Узор с косами и полосами- вязать по схеме.
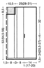
Цифры справа от схемы обозначают лицевые ряды, слева – изнаночные ряды Петли представлены так. как они вяжутся. В ширину распределять п. согласно описанию. В высоту повторять с 1-го по 12-й р. п. В последнем изн. р. соединить все п. и продолжить работу. На высоте 60 (61.5-63) см – 156 (160-164) р. от планки закрыть все петли одновременн
Плотность вязания: 20 п. х 26 р. узором из полос спицами № 5 – 10 = 10 см. 32 п. косы – 8 см в ширину. 8 п. полос между косами = 3 см в ширину
Внимание: модель на фото выполнена на размер 40/44.
Спинка: набрать 212 (224-238) п на круговые спицы с длинной леской и, начинай с изнаночного р.. связать для планки 1.5 см – 5 р. платочной вязкой. Затем вязать узор с полосами и косами по схеме, начиная с правого края работы, в след. порядке: вязать до стрелки а, раппорт oт а до б выполнить 3 (4-5) раз, затем вязать до стрелки в. 3 раппорта от в до г, затем вязать до стрелки е, 3 (4-5) раппортов от е до д. закончить п. от стрелки е до ж. На высоте 24 (25.5-27) см- 62 (66 70) р. от планки выполнить отверстия для пояса, для этого разделить работу на три части. Сначала связать 9 р. на первых 28 (34-40) п.. отложив оставшиеся п. Затем перенести эти п. на вспомогательную спицу и вязать 9 р. на средних 156 п. Затем отдельно связать 9 р на оставшихся 28 (34-40).
- Поделиться


Источник: Verena, модель 24 Пончо с узором из кос и поло
http://knitt.net/poncho-s-uzorom-iz-kos-i-poyasom.html
Комментарии
Вставка изображения
Можете загрузить в текст картинку со своего компьютера: